1. بنية مضخة الطرد المركزي ذات المحرك المغناطيسي المعدني
تتكون المضخة الطاردة المركزية ذات المحرك المغناطيسي من أربعة مكونات رئيسية: الغلاف، والدوار، وأجزاء التوصيل، ونظام النقل. وهي متوفرة بنوعين: التوصيل المباشر والتوصيل غير المباشر. يتميز تصميم التوصيل المباشر بوصلة مغناطيسية (مغناطيس خارجي) متصلة مباشرة بعمود المحرك، مما يلغي الحاجة إلى أعمدة خارجية أو محامل دحرجة أو مكونات توصيل، كما هو موضح في الشكل 1-12.
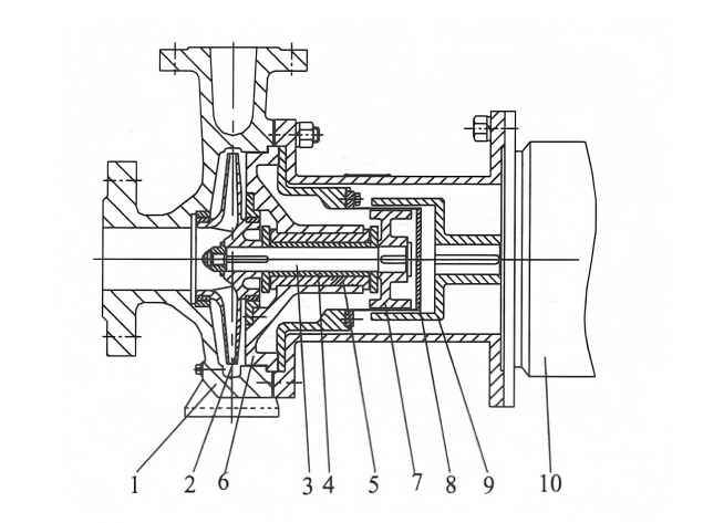
تتميز المضخة الطاردة المركزية ذات المحرك المغناطيسي غير المتصل مباشرة، والمعروفة أيضًا باسم المضخة الطاردة المركزية القياسية ذات المحرك المغناطيسي، بعمود خارجي مزود بوصلة مغناطيسية (مغناطيس خارجي) متصلة بالمحرك عبر غلاف محمل ووصلة. يوضح الشكل 1-21 التركيب التخطيطي لهذه المضخة.
الشكل 1-21: مخطط تخطيطي لمضخة طرد مركزي ذات محرك مغناطيسي غير متصل مباشرة (النوع القياسي)
1- جسم المضخة (غلاف المضخة)؛ 2- المروحة؛ 3- محمل انزلاقي؛ 4- عمود المضخة الداخلي؛ 5- جلبة عازلة؛ 6- فولاذ مغناطيسي داخلي؛ 7- فولاذ مغناطيسي خارجي؛ 8- محمل دحرجة؛ 9- عمود المضخة الخارجي؛ 10- وصلة؛ 11- محرك كهربائي؛ 12- قاعدة
(1) مقطع الغلاف
يتكون الجزء الخارجي من جسم المضخة (غلاف المضخة)، وغطاء المضخة، وجلبة العزل، وما إلى ذلك. وهو يتحمل كل ضغط تشغيل المضخة.
(2) قسم الدوار
تتكون مجموعة الدوار من مكونين رئيسيين: الأجزاء الدوارة المثبتة على عمود المضخة، والأجزاء المثبتة على عمود الدوران. تشمل الأجزاء الدوارة لعمود المضخة المروحة، والمحامل، ومجموعة حلقات الدفع، والدوار المغناطيسي الداخلي، والعمود نفسه، وتشكل هذه الأجزاء قسم الدوار الذي يتلامس مع الوسط. أما الأجزاء الدوارة لعمود الدوران فتتكون من الدوار المغناطيسي الخارجي، والمحامل الدوارة، وجلبة عمود الدوران، والعمود نفسه، وتشكل هذه الأجزاء قسم الدوار الذي يتلامس مع الهواء.
(3) قسم التوصيل
يتكون من إطار توصيل وصندوق محمل وأجزاء أخرى، والتي تلعب دور التوصيل والدعم.
(4) قسم النقل
يشير قسم التوصيل إلى وصلة الربط بين المضخة ووحدة التشغيل. تستخدم مضخات الطرد المركزي ذات الدفع المغناطيسي طريقتين للتوصيل: (1) توصيل الوصلة المغناطيسية الداخلية للمضخة بالوصلة المغناطيسية الخارجية لوحدة التشغيل؛ (2) استخدام وصلة ممتدة من نوع الحجاب الحاجز لتوصيل الوصلة المغناطيسية الخارجية لعمود المضخة بوحدة التشغيل. يتيح هذا التصميم صيانة المضخة ببساطة عن طريق إزالة مسامير الجزء الوسيط من الوصلة والحجاب الحاجز، مما يلغي الحاجة إلى تفكيك وحدة التشغيل للصيانة، وبالتالي يضمن سهولة الصيانة.
2. المكونات الرئيسية ووظائفها في مضخة الطرد المركزي ذات المحرك المغناطيسي المعدني
(1) المكونات الرئيسية لمضخة الطرد المركزي ذات المحرك المغناطيسي المعدني
تشمل المكونات الرئيسية لمضخة طرد مركزي ذات محرك مغناطيسي معدني ما يلي: المروحة، والعمود، وغرفة السحب، وجسم المضخة (الهيكل)، وجلبة العزل، وغطاء المحمل، وحلقة المنفذ. قد تتضمن بعض الطرازات أيضًا ريش توجيه، وعجلة حث، وقرص توازن. تتكون ممرات التدفق من غرفة السحب، وجسم المضخة (الهيكل)، والمروحة، ولكل منها الوظائف التالية.
① حجرة المدخل: تقع حجرة المدخل في الطرف الأمامي لمدخل المروحة، حيث يُسحب السائل إلى داخل المروحة عبر منفذ السحب. ويُشترط أن يكون فقدان تدفق السائل المار عبر حجرة المدخل في حده الأدنى، وأن تكون سرعة السائل الداخل إلى المروحة موزعة بانتظام.
٢- المروحة: تقوم المروحة الدوارة بتحويل الطاقة عن طريق سحب السائل، ونقل طاقة الضغط والطاقة الحركية إليه. ويُشترط في المروحة أن تُحقق أقصى قدر من نقل الطاقة إلى السائل مع تقليل فقد التدفق إلى أدنى حد.
(2) وظائف المكونات الرئيسية في المضخات الطاردة المركزية ذات المحرك المعدني المغناطيسي
① جسم المضخة (غلاف المضخة)
يأتي جسم المضخة، المعروف أيضًا باسم غلاف المضخة، بنوعين: غلاف مقسم محوريًا وغلاف مقسم شعاعيًا، وهو عنصر يتحمل ضغط السائل. تتميز معظم المضخات أحادية المرحلة بغلاف حلزوني، بينما تستخدم المضخات متعددة المراحل عادةً أغلفة حلقية أو دائرية. وتتمثل وظيفته الأساسية في احتواء السائل ضمن حيز محدد، وتوجيه السائل المنبعث من ممرات تدفق المروحة إلى أنابيب التصريف، وتحويل جزء من الطاقة الحركية للسائل إلى طاقة ضغط، مما يزيد من ضغطه.
يحتوي جسم المضخة عمومًا على الأنواع الثلاثة التالية:
أ. يشبه جسم المضخة الحلزونية (الغلاف) صدفة الحلزون في شكله (الشكل 1-22). يوجد داخل الغلاف قنوات تدفق ذات مقاطع عرضية تتسع تدريجيًا. يؤثر شكل هذه القنوات وأبعادها بشكل كبير على أداء المضخة.
الشكل 1-22 جسم مضخة حلزونية
(يشير السهم إلى ممر الحلزون ذي المقاطع العرضية غير المتساوية)
ب. جسم المضخة (الهيكل) مع مجموعة ريش التوجيه. جسم المضخة (الهيكل) عبارة عن هيكل دوار، يحتوي على المكون الخارجي للمروحة.
قناة التدفق محاطة بالعديد من هياكل ريش التوجيه.
ج. جسم المضخة ذو الطبقة المزدوجة (الغلاف) يُطلق على جسم المضخة (الغلاف) الذي يحتوي على غلاف خارجي أسطواني إضافي اسم جسم المضخة ذو الطبقة المزدوجة (الغلاف).
2- المروحة
المروحة، وهي عنصر أساسي في المضخة، تدفع السائل عبر الدوران عالي السرعة. تتكون المروحة عادةً من ثلاثة أجزاء - المحور والشفرات ولوحة الغطاء - ولها نوعان من لوحات الغطاء: لوحة الغطاء الأمامية على جانب المدخل ولوحة الغطاء الخلفية على الجانب المقابل.
تنقل المضخات الطاردة المركزية ذات المحرك المغناطيسي السوائل بشكل أساسي عن طريق المروحة المثبتة داخل جسم المضخة. ويؤثر حجم المروحة وشكلها ودقة تصنيعها بشكل كبير على أداء المضخة. وبناءً على التكوين الهيكلي، يمكن تصنيف المراوح إلى ثلاثة أنواع: مغلقة، ومفتوحة، وشبه مفتوحة (الشكل 1-23).
أ. دافع مغلق
تتكون المروحة القرصية عادةً من غطاء وشفرات ومحور. يقع الغطاء الأمامي على جانب السحب، بينما يقع الغطاء الخلفي على الجانب المقابل، وتتوسطهما الشفرات. يوجد من 4 إلى 6 شفرات بين الغطاءين، وتكون هذه الشفرات منحنية للخلف عادةً، كما هو موضح في الشكل 1-23 (أ). تتميز المراوح المغلقة بكفاءة عالية وتُستخدم على نطاق واسع، خاصةً لنقل السوائل النظيفة الخالية من الجزيئات الصلبة أو الألياف. وهي متوفرة بنوعين: أحادية السحب وثنائية السحب. تُعد المروحة ثنائية السحب، كما هو موضح في الشكل 1-24، مناسبة للمضخات عالية التدفق وتوفر مقاومة أفضل للتجويف.
ب. دافع مفتوح
لا تحتوي المروحة على أغطية جانبية، وتتصل شفراتها بالمحور عبر دعامات، كما هو موضح في الشكل 1-23 (ب). يتميز تصميم هذه المروحة بالبساطة وسهولة التصنيع، ولكنه ذو كفاءة منخفضة، مما يجعله مناسبًا لنقل السوائل ذات المحتوى العالي من المواد الصلبة العالقة أو الألياف.
ج. دافع من النوع شبه المغلق
تتميز هذه المروحة بغطاء خلفي فقط، كما هو موضح في الشكل 1-23 (ج). وهي مصممة لنقل السوائل المعرضة للترسب أو التي تحتوي على مواد صلبة عالقة، بكفاءة تقع بين كفاءة المراوح المفتوحة والمغلقة.
يوجد نوعان من شفرات المروحة للمضخات الطاردة المركزية: شفرات مستقيمة وشفرات ملتوية.
الشفرات المستقيمة هي تلك التي يكون عرضها بالكامل موازياً لعمود المروحة، كما هو موضح في الشكل 1-23.
تتميز الشفرات الملتوية بجزء ينحرف عن محور المروحة، كما هو موضح في الشكل 1-25. بالنسبة للمراوح ذات السرعة النوعية المنخفضة، تكون الشفرات دائرية الشكل ذات قنوات تدفق ضيقة، مما يسهل عملية التصنيع. في المقابل، تستخدم المراوح ذات السرعة النوعية العالية قنوات تدفق أوسع، مما يسهل عملية الالتواء. تعمل هذه الشفرات على تحسين مقاومة المضخة للتجويف، وتقليل فقدان الطاقة الناتج عن الصدمات، وبالتالي تحسين الكفاءة الإجمالية.
عندما يكون اتجاه انحناء الشفرة معاكساً لاتجاه دوران المروحة، تُسمى شفرة منحنية للخلف؛ وإلا تُسمى شفرة منحنية للأمام. ونظراً لكفاءتها العالية، تُستخدم الشفرات المنحنية للخلف بشكل عام في المراوح.
③ تشوما
تُركّب حلقة منع التسرب، المعروفة أيضًا باسم حشوة منع التسرب، عادةً على جسم المضخة، وتُشكّل خلوصًا ضئيلاً مع المحيط الخارجي لمدخل سحب المروحة (الشكل 1-26). ولأن ضغط السائل داخل جسم المضخة يتجاوز ضغط مدخل السحب، يميل السائل إلى التدفق نحو مدخل سحب المروحة. تتمثل الوظيفة الأساسية لحلقة منع التسرب في منع تسرب السائل بين المروحة وجسم المضخة. بالإضافة إلى ذلك، تعمل كعنصر يتحمل الاحتكاك. عند حدوث تآكل مفرط في الخلوص، فإن استبدال حلقة منع التسرب يمنع تلف المروحة وجسم المضخة، مما يُطيل عمرهما التشغيلي. ونتيجةً لذلك، تُصنّف حلقة منع التسرب كأحد مكونات المضخة المعرضة للتآكل. يُحدّد قطر حشوة منع التسرب عادةً بُعد الخلوص بين حلقة منع التسرب والمحيط الخارجي لمدخل سحب المروحة.
الشكل 1-25: مروحة ذات شفرات ملتوية. الشكل 1-26: رسم تخطيطي لـحلقة الارتداء (حلقة الختم)
④ غلاف عازل
في محرك مغناطيسي مضخة طرد مركزيفي هذه المضخات، تعمل جلبة العزل بشكل أساسي كمانع تسرب للمحور، فهي المكون الوحيد الذي يضمن التشغيل بدون تسريب. على عكس المضخات الطاردة المركزية التقليدية، لا يبرز المحور الدوار خارجيًا من غلاف المضخة الثابت. بدلاً من ذلك، تحل جلبة العزل محل مانع التسرب التقليدي للمحور، مما يمنع بشكل فعال تسرب السوائل عالية الضغط ودخول الهواء إلى حجرة المضخة (كما هو موضح في الشكل 1-27). يفسر هذا التصميم وجود آلية منع التسرب في هذه المضخات. يفصل جلبة العزل المحور وغلاف المضخة فعليًا، وهي تحل محل مجموعة مانع التسرب التقليدية للمحور.
⑤ اقتران مغناطيسي
يتكون الموصل المغناطيسي من مغناطيس داخلي (يحتوي على حامل مغناطيسي وغلاف مغناطيسي) ومغناطيس خارجي (مع حامل مغناطيسي). يُعد غلاف العزل، الموجود بين المغناطيسين الداخلي والخارجي (الشكل 1-28)، سمة مميزة رئيسية للمضخات المغناطيسية، ويُمثل مكونها الأساسي. يؤثر هيكل الموصل المغناطيسي، وتصميم الدائرة المغناطيسية، واختيار مواد مكوناته بشكل مباشر على موثوقية المضخة، وكفاءة محركها المغناطيسي، وعمرها التشغيلي.

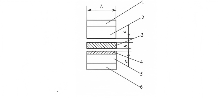
الشكل 1-28: رسم تخطيطي لبنية الاقتران المغناطيسي
1- قاعدة مغناطيسية خارجية؛ 2- كتلة فولاذية مغناطيسية خارجية؛ 3- غلاف عازل؛ 4- غلاف فولاذي مغناطيسي داخلي؛ 5- كتلة فولاذية مغناطيسية داخلية؛ 6- قاعدة مغناطيسية داخلية
L — طول كتلة الفولاذ المغناطيسي؛ a — سُمك الطلاء؛ b — سُمك غلاف العزل؛ c — الفجوة الهوائية
أ. الفولاذ المغناطيسي الداخلي
يُلصق الفولاذ المغناطيسي الداخلي بقاعدته باستخدام مادة لاصقة. ولعزل الفولاذ المغناطيسي الداخلي عن الوسط المحيط، يجب وضع غلاف واقٍ على سطحه الخارجي. يتوفر الغلاف بنوعين: معدني وبلاستيكي. تُلحم الأغلفة المعدنية، بينما تُصنع الأغلفة البلاستيكية بالحقن (عند استخدام مادة معدنية، يجب استخدام الفولاذ المقاوم للصدأ الأوستنيتي غير المغناطيسي).
ب. مغناطيس خارجي
يتم توصيل المغناطيس الخارجي وقاعدة المغناطيس الخارجي بواسطة مادة لاصقة.
ج. غلاف عازل
يتم وضع غلاف العزل، المعروف أيضًا باسم غلاف الختم، بين المغناطيسات الداخلية والخارجية لعزلها تمامًا، مع وجود الوسط داخل الغلاف (الشكل 1-29).
الشكل 1-29: رسم تخطيطي لهيكل محرك مغناطيسي أسطواني
1- الدوار الخارجي؛ 2- الفولاذ المغناطيسي الخارجي؛ 3- الفولاذ المغناطيسي الداخلي؛ 4- الدوار الداخلي؛ 5- غلاف العزل
يرتبط سُمك غلاف العزل بضغط التشغيل ودرجة حرارة التشغيل. فإذا كان سميكًا جدًا، ستزداد الفجوة بين المغناطيسين الداخلي والخارجي، مما يؤثر على كفاءة المحرك المغناطيسي. أما إذا كان رقيقًا جدًا، فسيتأثر عزم الدوران. يوجد نوعان من أغلفة العزل: معدنية وغير معدنية. يتميز غلاف العزل المعدني بفقدان الطاقة الناتج عن التيارات الدوامية، بينما لا يتميز غلاف العزل غير المعدني بهذا الفقدان.
⑥ محمل انزلاقي
يُدعَم عمود مضخة الطرد المركزي ذات الدفع المغناطيسي بواسطة محمل انزلاقي. ولأن المحمل الانزلاقي يعتمد على الوسط المنقول لتزييته، فينبغي تصنيعه من مواد ذات مقاومة ممتازة للتآكل وخصائص تزييت ذاتي. تشمل مواد المحامل الشائعة الاستخدام كربيد السيليكون، والسيراميك، والمواد القائمة على الجرافيت، والمركبات المملوءة بمادة البولي تترافلوروإيثيلين (PTFE).
يعتمد تزييت المحامل الانزلاقية على تدفق السوائل فيها، مما يتطلب أن تتمتع المحامل والبطانات وأقراص الدفع بخصائص تزييت ذاتي ممتازة، ومقاومة عالية للتآكل والتآكل الكيميائي. على سبيل المثال، يتميز كل من كربيد السيليكون المدعم (SSiC) و YWN8 بمقاومة فائقة للتآكل والتآكل الكيميائي، بالإضافة إلى خصائص تزييت ذاتي متميزة، مع تفوق SSiC في الصلابة النسبية على YWN8. عند استخدامهما مع محامل الدفع، يشكل مزيج المواد اللينة والصلبة زوج احتكاك مثالي، مما يطيل عمر المحمل بشكل ملحوظ. وقد أظهرت الاختبارات العملية أن عمر المحامل المزدوجة المصنوعة من هذه المواد (SSiC و YWN8) قد يصل إلى عشرة أضعاف عمر محامل الجرافيت أو محامل كربيد السيليكون (SiC) المصنوعة من نفس المادة. وباعتبارها مكونات أساسية في المضخات المغناطيسية، فإن إطالة عمر المحامل الانزلاقية يعزز بشكل مباشر العمر الافتراضي الإجمالي للمضخة المغناطيسية. لذلك، يُعد اختيار المواد أمرًا بالغ الأهمية لضمان التشغيل المستقر طويل الأمد للمضخات المغناطيسية.
⑦ مُعادل الصوت
في المضخة ذات المحرك المغناطيسي، تكون القوى المؤثرة على جانبي المروحة غير متساوية، كما هو موضح في الشكل 1-30. عند بدء تشغيل المضخة مؤقتًا بواسطة آلية التشغيل، تُسلط قوة محورية على المروحة باتجاه جانب السحب. إذا لم تُزال هذه القوة المحورية، فستحدث حركة محورية للأجزاء الدوارة، مما يؤدي إلى التآكل والاهتزاز وارتفاع درجة الحرارة، الأمر الذي يمنع المضخة من العمل بشكل طبيعي. لذلك، يجب استخدام جهاز موازنة لمنع الحركة المحورية. تشمل أكثر أنواع أجهزة الموازنة المحورية شيوعًا فتحات الموازنة، وأنابيب الموازنة، وأقراص الموازنة.
أ. فتحة التوازن
تتم إضافة نفس حلقة منع التسرب إلى الغطاء الخلفي للمروحة، ويتم فتح عدة ثقوب على الغطاء الخلفي (ثقوب التوازن) لجعل الضغط عند الغطاء الخلفي مساوياً لضغط مدخل الشفط، وذلك لتحقيق التوازن في القوة المحورية.
ب. أنبوب التوازن
يتم توصيل أنبوب بجسم المضخة ويؤدي إلى مدخل السحب، مما يضمن توازن الضغط على جانبي المروحة. يتميز هذان الجهازان ببنية بسيطة، لكنهما قد يتسببان في ارتداد السائل، مما يقلل من الكفاءة. إضافةً إلى ذلك، تبقى نسبة تتراوح بين 10% و25% من القوة المحورية غير متوازنة، مما يستدعي عادةً استخدام قرص دفع لامتصاص القوة المحورية المتبقية.
ج. قرص التوازن
يوضح الشكل 1-31 رسمًا تخطيطيًا لمجموعة قرص التوازن، المستخدمة بشكل أساسي في مضخات متعددة المراحل حيث يتم تثبيته على دافعة المرحلة النهائية على نفس العمود. توجد خلوص محوري بين قرص التوازن وجسم المضخة. أثناء التشغيل، يتدفق سائل عالي الضغط عبر هذا الخلوص إلى حجرة التوازن على الجانب الأيمن من قرص التوازن. تتصل حجرة التوازن بمدخل السحب، مما يحافظ على ضغط متساوٍ. ينتج عن ذلك فرق ضغط عبر قرص التوازن، حيث تتوازن قوى الدفع والقوى المحورية المتعاكسة. يمكن للمكونات الدوارة للمضخة أن تتحرك جانبيًا، ويحافظ قرص التوازن تلقائيًا على التوازن أثناء التشغيل. بالإضافة إلى ذلك، يمكن لأساليب أخرى، مثل استخدام دافعات مزدوجة السحب أو دافعات مرتبة بشكل متناظر، أن تساعد أيضًا في موازنة القوى المحورية الجزئية.
الشكل 1-31: رسم تخطيطي لجهاز قرص التوازن
1- دافعة المرحلة النهائية؛ 2- حجرة التوازن؛ 3- الخلوص المحوري؛ 4- قرص التوازن؛ 5- عمود المضخة